Iain Russell, Founder & Director, Russell IP, and MTUK’s Patents Expert
Patents aren’t always the most glamorous corner of the music tech world, but they tell a fascinating story – one that runs from the earliest electric guitar pickups through to AI systems composing original music today. In this occasional series, I’ll be exploring patents that have genuinely changed how we make and hear music. Some of them underpinned entire genres. Some solved problems you didn’t know needed solving.
The Gear That Made Hendrix Hendrix
Everyone knows Jimi Hendrix was an innovative guitarist. But not everyone thinks of him as an audio systems engineer. This fascinating IEEE article tells the story of how Hendrix used off-the-shelf components in ways their inventors probably never imagined to create his unique electric guitar sound.
Pivotal to Hendrix’s creative process were two patented inventions:
- the electromagnetic pickup (US2089171A) – the foundational technology, from before Hendrix was even born, that turned a vibrating string into an electrical signal. This made it possible to design guitars without resonance boxes but also paved the way for effects processors which change an instrument’s sound without modifying the instrument itself

- the Wah-Wah pedal (US3530224A) (or “Foot controlled continuously variable preference circuit for musical instruments”, to give it its patent title!). As noted in the patent, “The musical effect may be described as a wow-wow and is closely akin to that produced by the warbling of a trumpet mute across the bell of a trumpet.” It became one of the defining sounds of psychedelic rock.

From Signal to Music
An output signal from a wah-wah pedal or another effects unit might be directed to a mixing desk for further processing or combining with other audio signals. A UK music-tech company known for mixing hardware is Solid State Logic (SSL). SSL’s patent “A mixing desk audio amplifier introducing even order distortion over a wide gain range” (GB2439982) describes approaches to dealing with the variability of microphone input signals compared to electric guitar pickups.

21st-Century Frontiers
It’s impossible to talk about music-tech developments in 2026 without mentioning AI-generated music. One example is described in Google’s patent “Generating music with deep neural networks” (US10068557), which discusses interpolating between instruments, to blend characteristics of two or more instruments into a single sound. What would an oboe crossed with a bass guitar sound like? Now we can find out!

Bristling with Innovation
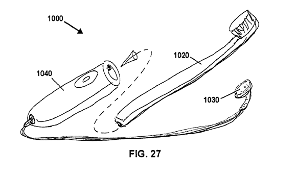
Of course, music tech innovation doesn’t always reach for the stars. Sometimes it just wants to help you with everyday activities … like making sure your children have brushed their teeth properly. Colgate-Palmolive’s patent “Musical Toothbrush” (US7418757) sets out to solve just this problem by describing a toothbrush with “an output for transmitting or playing … stored audio signals”. As shown in the patent image below, the toothbrush’s “output” could take the form of an earpiece to listen to audio stored in the main body. According to the patent this creates “an environment that makes tooth brushing enjoyable so that children and teenagers in particular will brush as often as they should and for the recommended period of time”.

The Beat Goes On
MTUK members and other music technologists the world over are working on new products and techniques that push the boundaries of how we make and hear music, just as Jimi Hendrix did in the 1960s. The patent system doesn’t distinguish between the profound and the practical. If you’re building the next innovation, it’s worth knowing what protection is available.

